基于改进sinc插值的变PRF采样聚束SAR成像

陈世阳 黄丽佳 俞雷

陈世阳, 黄丽佳, 俞雷. 基于改进sinc插值的变PRF采样聚束SAR成像[J]. 雷达学报, 2019, 8(4): 527–536. doi: 10.12000/JR18095
引用本文: 陈世阳, 黄丽佳, 俞雷. 基于改进sinc插值的变PRF采样聚束SAR成像[J]. 雷达学报, 2019, 8(4): 527–536. doi: 10.12000/JR18095
CHEN Shiyang, HUANG Lijia, and YU Lei. A novel sinc interpolation for continuous PRF sampled sequences reconstruction in spotlight SAR[J]. Journal of Radars, 2019, 8(4): 527–536. doi: 10.12000/JR18095
Citation: CHEN Shiyang, HUANG Lijia, and YU Lei. A novel sinc interpolation for continuous PRF sampled sequences reconstruction in spotlight SAR[J]. Journal of Radars, 2019, 8(4): 527–536. doi: 10.12000/JR18095

基于改进sinc插值的变PRF采样聚束SAR成像

DOI: 10.12000/JR18095 CSTR: 32380.14.JR18095
基金项目: 国家自然科学基金(61331017)
详细信息
    作者简介:

    陈世阳(1994–),男,硕士研究生,研究方向为合成孔径雷达信号处理。Email: m15528309300@163.com

    黄丽佳(1984–),女,博士,副研究员,硕士生导师,研究方向为合成孔径雷达信号处理与图像分析。Email: iecas8huanglijia@163.com

    俞雷:俞   雷(1979–),男,博士生,高级工程师。研究方向为合成孔径雷达系统、雷达信号处理和遥感应用处理。E-mail: ylanlei@buaa.edu.cn

    通讯作者:

    黄丽佳   iecas8huanglijia@163.com

  • 中图分类号: TN958

A Novel sinc Interpolation for Continuous PRF Sampled Sequences Reconstruction in Spotlight SAR

Funds: The National Science Foundation of China (61331017)
More Information
  • 摘要: 该文针对周期性变PRF采样高分辨率聚束模式合成孔径雷达(SAR)提出了一种改进的两步成像算法。变脉冲重复频率(PRF)设计可解决固定盲区等问题,是解决星载SAR高分宽幅矛盾的一种有效手段,但变PRF采样会引起频谱混叠和虚假目标等问题。该文从离散非均匀傅里叶变换原理出发,推导改进sinc插值核函数并建立了时域-时域的回波重建方法,将变PRF采样回波重构为均匀采样回波。此外将改进sinc插值与两步式成像算法结合,据此发展出针对非均匀采样回波的改进两步式聚束SAR成像算法,拓展了传统两步式成像算法的使用范围。仿真数据和实际数据处理结果验证了成像算法的有效性和精确性,并且改进sinc插值具备更高的计算效率。

     

  • 图  1  固定PRF时,排除星下点干扰和发射干扰后的时序图

    Figure  1.  Illustration of PRF excluded zones as a result of transmit and nadir interference

    图  2  给定参数下的盲区分布图

    Figure  2.  Blind ranges location for a given parameters of different PRI variations

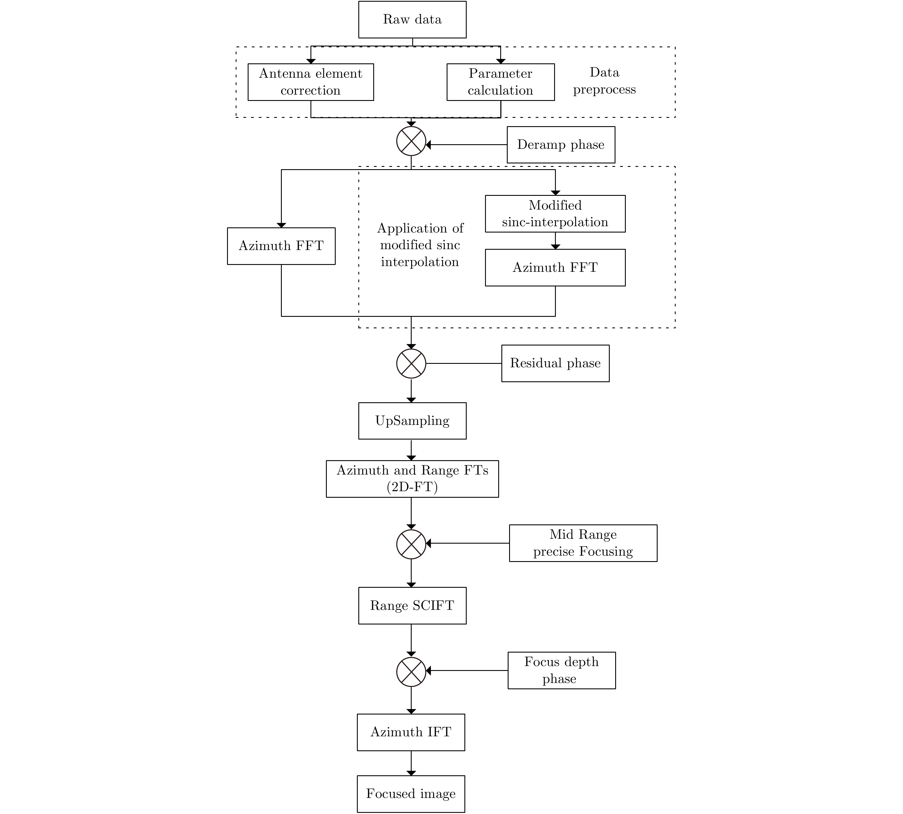
    图  3  基于改进sinc插值的两步式成像算法流程图

    Figure  3.  Procedure of the two-step processing approach based on the modified sinc interpolation

    图  4  慢变PRI序列两步式成像方位包络

    Figure  4.  Azimuth envelope of slow PRI change by different two-step algorithms

    图  5  快变PRI序列两步式成像方位包络

    Figure  5.  Azimuth envelope of fast PRI change by different two-step algorithms

    图  6  高分三号数据处理结果

    Figure  6.  Experiments on GF-3 data

    表  1  快变慢变仿真参数

    Table  1.   SAR parameters of two types of PRI variation

    参数
    视角(°)49
    慢变PRF变化范围(Hz)3243~3355
    快变PRF变化范围(Hz)3243~5964
    方位向瞬时多普勒带宽(Hz)*2703
    方位向总带宽(Hz)**72703
    脉冲持续时间(μs)30
    慢变序列的一周期内脉冲数量110
    快变序列的一周期内脉冲数量64
    方位向分辨率0.1
    成像场景宽度(km)8
    *表示聚束成像模式中的方位向瞬时带宽,**表示聚束成像模式中的方位向总带宽,即瞬时带宽与场景固定带宽之和
    下载: 导出CSV

    表  2  计算量对比

    Table  2.   Complexity of calculation

    算法乘法运算量加法运算量总运算量
    NUDFTNa 2Na(Na–1)Na(2Na–1)
    改进sinc插值NaLNa(L–1)Na(2L–1)
    下载: 导出CSV

    表  3  虚假电平指标测量结果

    Table  3.   Estimation of false targets level

    PRF变化方式算法近距目标(dB)中距目标(dB)远距目标(dB)
    慢变PRF传统两步式成像算法–20.56–48.44–22.11
    两步式成像结合NUDFT–71.56–72.91–72.57
    两步式成像结合sinc插值–49.38–50.17–49.87
    两步式成像结合改进sinc插值–67.22–66.89–71.61
    快变PRF传统两步式成像算法–12.33–31.98–12.04
    两步式成像结合NUDFT–54.03–54.25–54.57
    两步式成像结合sinc插值–26.05–26.11–26.02
    两步式成像结合改进sinc插值–56.48–53.36–54.95
    下载: 导出CSV
  • [1] 丁赤飚, 刘佳音, 雷斌, 等. 高分三号SAR卫星系统级几何定位精度初探[J]. 雷达学报, 2017, 6(1): 11–16. doi: 10.12000/JR17024

    DING Chibiao, LIU Jiayin, LEI Bin, et al. Preliminary exploration of systematic geolocation accuracy of GF-3 SAR satellite system[J]. Journal of Radars, 2017, 6(1): 11–16. doi: 10.12000/JR17024
    [2] 洪峻, 雷大力, 王宇, 等. 宽带宽方位波束对高分辨率SAR辐射定标的影响分析[J]. 雷达学报, 2015, 4(3): 276–286. doi: 10.12000/JR15015

    HONG Jun, LEI Dali, WANG Yu, et al. Wide band and wide azimuth beam effect on high-resolution synthetic aperture radar radiometric calibration[J]. Journal of Radars, 2015, 4(3): 276–286. doi: 10.12000/JR15015
    [3] 聂鑫. 变波门大斜视滑动聚束SAR成像关键技术分析[J]. 电子与信息学报, 2016, 38(12): 3122–3128. doi: 10.11999/JEIT160812

    NIE Xin. Research on key technique of highly squinted sliding spotlight SAR imaging with varied receiving range bin[J]. Journal of Electronics &Information Technology, 2016, 38(12): 3122–3128. doi: 10.11999/JEIT160812
    [4] 赵庆超, 张毅, 王宇, 等. 基于多帧超分辨率的方位向多通道星载SAR非均匀采样信号重建方法[J]. 雷达学报, 2017, 6(4): 408–419. doi: 10.12000/JR17035

    ZHAO Qingchao, ZHANG Yi, WANG R, et al. Signal reconstruction approach for multichannel SAR in azimuth based on multiframe super resolution[J]. Journal of Radars, 2017, 6(4): 408–419. doi: 10.12000/JR17035
    [5] 赵耀, 邓云凯, 王宇, 等. 原始数据压缩对方位向多通道SAR系统影响研究[J]. 雷达学报, 2017, 6(4): 397–407. doi: 10.12000/JR17030

    ZHAO Yao, DENG Yunkai, WANG Yu, et al. Study of effect of raw data compression on azimuth multi-channel SAR system[J]. Journal of Radars, 2017, 6(4): 397–407. doi: 10.12000/JR17030
    [6] 武其松, 井伟, 邢孟道, 等. MIMO-SAR大测绘带成像[J]. 电子与信息学报, 2009, 31(4): 772–775. doi: 10.3724/SP.J.1146.2007.01959

    WU Qisong, JING Wei, XING Mengdao, et al. Wide swath imaging with MIMO-SAR[J]. Journal of Electronics &Information Technology, 2009, 31(4): 772–775. doi: 10.3724/SP.J.1146.2007.01959
    [7] VILLANO M, KRIEGER G, and MOREIRA A. Staggered-SAR for high-resolution wide-swath imaging[C]. Proceedings of the IET International Conference on Radar Systems, Glasgow, UK, 2012: 1–6. doi: 10.1049/CP.2012.1600.
    [8] VILLANO M, JÄGER M, STEINBRECHER U, et al. Staggered SAR: Imaging a wide continuous swath by continuous PRI variation[C]. Proceedings of the Kleinheubacher Tagung, Miltenberg, Germany, 2014.
    [9] 罗绣莲, 徐伟, 郭磊. 捷变PRF技术在斜视聚束SAR中的应用[J]. 雷达学报, 2015, 4(1): 70–77. doi: 10.12000/JR14149

    LUO Xiulian, XU Wei, and GUO Lei. The application of PRF variation to squint spotlight SAR[J]. Journal of Radars, 2015, 4(1): 70–77. doi: 10.12000/JR14149
    [10] 唐江文, 邓云凯, 王宇, 等. 高分辨率滑动聚束SAR BP成像及其异构并行实现[J]. 雷达学报, 2017, 6(4): 368–375. doi: 10.12000/JR16053

    TANG Jiangwen, DENG Yunkai, WANG R, et al. High-resolution slide spotlight SAR imaging by BP algorithm and heterogeneous parallel implementation[J]. Journal of Radars, 2017, 6(4): 368–375. doi: 10.12000/JR16053
    [11] 刘艳阳, 李真芳, 杨桃丽, 等. 一种单星方位多通道高分辨率宽测绘带SAR系统通道相位偏差时域估计新方法[J]. 电子与信息学报, 2012, 34(12): 2913–2919. doi: 10.3724/SP.J.1146.2012.00562

    LIU Yanyang, LI Zhenfang, YANG Taoli, et al. A novel channel phase bias estimation method for spaceborne along-track multi-channel HRWS SAR in time-domain[J]. Journal of Electronics &Information Technology, 2012, 34(12): 2913–2919. doi: 10.3724/SP.J.1146.2012.00562
    [12] 刘艳阳, 李真芳, 索志勇, 等. 一种星载多通道高分辨率宽测绘带SAR系统通道相位偏差估计新方法[J]. 电子与信息学报, 2013, 35(8): 1862–1868. doi: 10.3724/SP.J.1146.2012.01424

    LIU Yanyang, LI Zhenfang, SUO Zhiyong, et al. A novel channel phase bias estimation method for spaceborne multi-channel high-resolution and wide-swath SAR[J]. Journal of Electronics &Information Technology, 2013, 35(8): 1862–1868. doi: 10.3724/SP.J.1146.2012.01424
    [13] 王沛, 王翔宇, 李宁, 等. 超高分辨率机载SAR高精度子带拼接与处理方法研究[J]. 电子与信息学报, 2017, 39(10): 2325–2331. doi: 10.11999/JEIT170093

    WANG Pei, WANG Xiangyu, LI Ning, et al. Investigation on high precision sub-band synthesizing and processing method for very-high-resolution airborne SAR[J]. Journal of Electronics &Information Technology, 2017, 39(10): 2325–2331. doi: 10.11999/JEIT170093
    [14] 吴玉峰, 孙光才, 杨军, 等. 周期性非均匀采样实现星载SAR高分辨宽测绘带成像[J]. 电子与信息学报, 2012, 34(2): 279–286. doi: 10.3724/SP.J.1146.2011.00498

    WU Yufeng, SUN Guangcai, YANG Jun, et al. High-resolution wide-swath imaging for spaceborne SAR based on periodic non-uniform sampling[J]. Journal of Electronics &Information Technology, 2012, 34(2): 279–286. doi: 10.3724/SP.J.1146.2011.00498
    [15] QIU Xue, LI Chunsheng, LI Jingwen, et al. A CZT-based continuous varying PRF polar format algorithm for highly squinted spotlight SAR[C]. Proceedings of 2015 IEEE International Geoscience and Remote Sensing Symposium, Milan, Italy, 2015: 4494–4497. doi: 1109/IGARSS.2015.7326826.
    [16] DUTT A and ROKHLIN V. Fast fourier transforms for nonequispaced data[J]. SIAM Journal on Scientific Computing, 1993, 14(6): 1368–1393. doi: 10.1137/0914081
  • 加载中
图(6) / 表(3)
计量
  • 文章访问数: 
  • HTML全文浏览量: 
  • PDF下载量: 
  • 被引次数: 0
出版历程
  • 收稿日期:  2018-11-14
  • 修回日期:  2019-02-22
  • 网络出版日期:  2019-08-28

目录

    /

    返回文章
    返回